Go back

Automatic Vertical Balancing Machines 150 SVM, 151 SVM, 350 SVM, 550 SVM - homepage

  • Fully automatic operational sequence
  • Manual loading and unloading
  • Interfacing with production line is possible
  • Fully automatic unbalance correction by drilling, milling, welding or riveting
  • Analog or NC axis controlled correction
  • Digital measured data processing

Design

Fully automatic single-station machine with integrated high-performance drill unit. Freely programmable control with fault diagnosis and status display. Clamping of the work-pice to the balancing machine by precision adapters with pneumatic unclamping mechanism. Support device located under the work-piece during drilling, to compensate for the drill force. Unbalance evaluation, correction calculation and correction control through PC controlled measuring unit. Manual loading or optional loading for the machine by a hand-operated system and the corresponding conveying technique.
Design

Range of application

Measurement and correction of single-plane unbalance in discshaped rotors with and without shafts, such as flywheels, TMF (twin mass flywheels), brake-drums, gears, clutch-plates, compensation shafts, blowers, etc.

Flexible integration into production line and simple change over of the machine to different rotor types by exchange of work-piece interface adapter and selection of rotor type file.
Unbalance correction by axial or radial drilling in polar or component format. If the initial unbalance is larger than can be corrected by one drilling action, multiple holes can be drilled.

Other unbalance correction methods such as milling, welding, riveting or punching can be integrated into the machine on request. The correction units are flexible and are adapted to the work-piece.
Technical data
Technical data at a glance    150 VM  151 VM  150 SVM  151 SVM  350 SVM  550 SVM 
Measuring unit    CAB 950  CAB 950  CAB 950  CAB 950  CAB 950  CAB 950 
Unbal. corr. by drilling, vertical    •    •       
Unbal. corr. by drilling, horizontal      •    •     
Unbal. corr. by welding (CD)            •   
Unbal. Corr. By welding (medium frequency)          option     
Unbal. corr. by punching              • 
Analog depth control    •  •         
Numerical depth control      •  •       
Manual change-over    •  •         
Automatic change-over        •  •  •  • 
Rotor               
Weight, max. 2)  [kg]  5 - 100  5 - 100  5 - 100  5 - 100  5 - 100  5 - 100 
Diameter, max.  [mm]  240 - 600  240 - 600  240 - 600  240 - 600  240 - 600  240 - 600 
Height, max.  [mm]  10 - 200  10 - 200  10 - 200  10 - 200  10 - 200  10 - 200 
Machine               
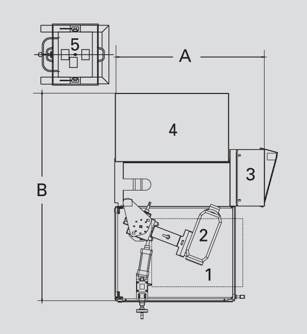
Lenght A 4)  [mm]  1500  1500  3400  3400  3400  3400 
Width B 4)  [mm]  1700  1700  1500  1500  1500  1500 
Height C 4)  [mm]  2200  2200  2400  2400  2400  2400 
Balancing speed  [min -1]  800  800  800  800  800  800 
Drilling performance St 60  (mm)  8 - 28  8 - 28  8 - 28  8 - 28 
Measuring uncertainty 1)  [gmm]  2 - 20  2 - 20  2 - 20  2 - 20  2 - 20  2 - 20 
Cycle time 3)  [s]  30  30  25  25  25  25 
Air pressure  [kPa]  500  500  500  500  500  500 
Required air flow  [m3/h]  0,5  0,5 
Power consumtion  [kVA]  12  12  25  25  25  25 
               
Basic machine  Order-Nr.  R0030100.01  R0030200.01  R0030300.01  R0030400.01  R0030500.01  R0030600.01 
Drill swarf extractor  Order-Nr.  R0030102.01  R0030102.01  R0030102.01  R0030102.01 
               
1) Acc. To DIN 1319, 95% probabiltity, workpiece-dependent               
2) Rotor plus Adaptor               
3) Depending on initia unbalance, correction geometry, cutting data and operator               
4) data non-binding, depending on respective equipment